Galaxy Ring wird über ein Smartphone aufgeladen werden können - Samsung patentiert neue Technologie

Galaxy Ring wird über ein Smartphone aufgeladen werden können - Samsung patentiert neue Technologie
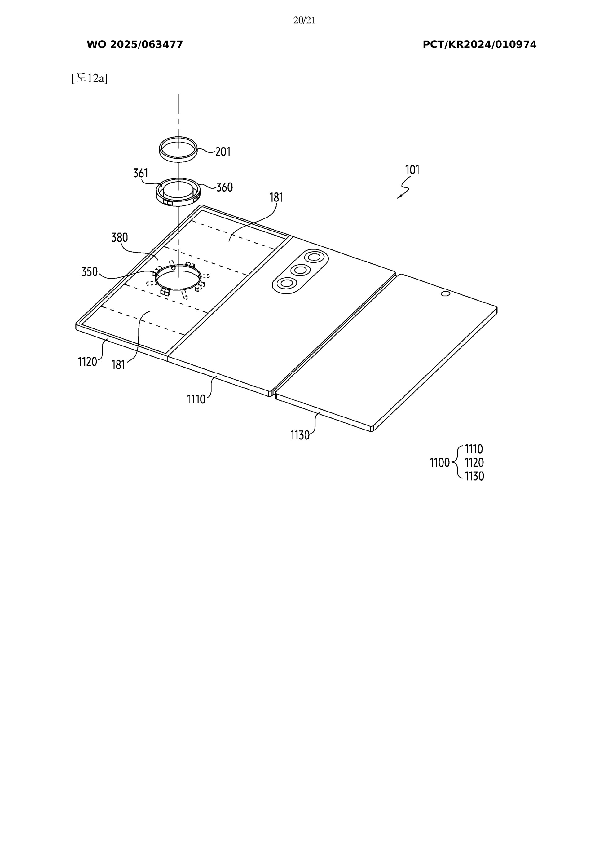
Der von Samsung patentierte Galaxy Ring lädt über einen Schlitz im Smartphone. Quelle: Samsung

Samsung könnte Galaxy Ring-Nutzern eine neue Lademethode anbieten.

Was bekannt ist

Laut einem kürzlich von der Weltorganisation für geistiges Eigentum (WIPO) veröffentlichten Patentantrag von Samsung erwägt das Unternehmen, den Galaxy Ring über einen speziellen Schlitz auf der Rückseite des Galaxy-Smartphones aufzuladen.

Außerdem soll der Ring während des Ladevorgangs Gesundheits- und Aktivitätsdaten an das Smartphone übermitteln können.

Aus dem Patent geht nicht hervor, ob dieser Steckplatz direkt in das Smartphone eingebaut oder Teil eines speziellen Gehäuses sein wird. Die vorgestellten Diagramme beschreiben jedoch sowohl starre als auch flexible Smartphone-Designs oder Hüllen, die den Galaxy Ring direkt aufladen können.

1
2
3
4

Derzeit kann der Galaxy Ring nur mit einer speziellen Ladehülle aufgeladen werden, die über USB-C oder kabelloses Laden angeschlossen wird. Alternativ kann die Ladehülle auf der Rückseite eines Wireless PowerShare-fähigen Galaxy-Smartphones platziert werden, um Strom zu erhalten.

Wenn die im Patent vorgeschlagene Technologie Realität wird, kann der Galaxy Ring direkt über das Smartphone oder die Hülle aufgeladen werden, wodurch die Notwendigkeit einer Ladehülle entfällt. Gleichzeitig kann die Umsetzung dieser Methode gewisse Schwierigkeiten mit sich bringen: Der Ladeschlitz wird das Smartphone dicker machen oder das Unternehmen zwingen, die Position der internen Komponenten zu ändern. Außerdem könnten sich die Kosten für die Smartphones erhöhen, was für Nutzer, die nicht vorhaben, ein Galaxy Ring zu kaufen, nicht attraktiv ist.

Quelle: WIPO

Fügen Sie Gagadget zu Ihrem Google News-Feed hinzu Google News
var _paq = window._paq = window._paq || []; _paq.push(['trackPageView']); _paq.push(['enableLinkTracking']); (function() { var u='//mm.magnet.kiev.ua/'; _paq.push(['setTrackerUrl', u+'matomo.php']); _paq.push(['setSiteId', '9']); var d=document, g=d.createElement('script'), s=d.getElementsByTagName('script')[0]; g.async=true; g.src=u+'matomo.js'; s.parentNode.insertBefore(g,s); })();